- A+
所属分类:比特币交易
今天给大家带来得是币安交易所杠杆交易的视频教程,没有账号的,点击注册币安网。
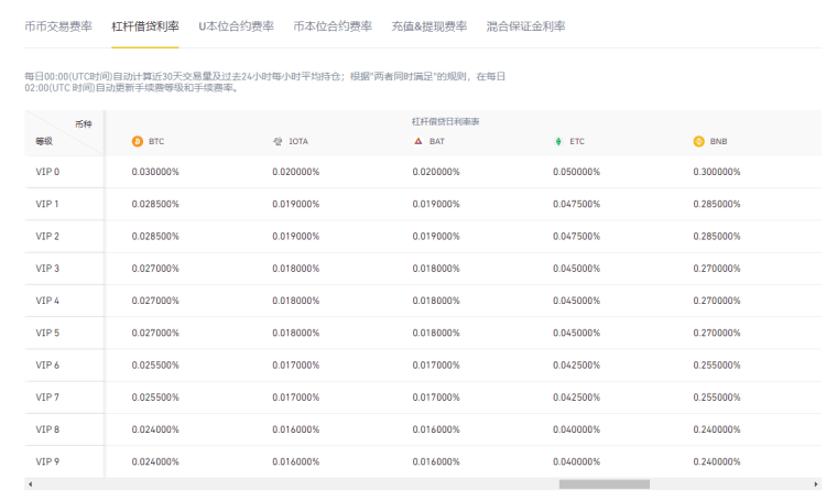
杠杆交易是一种使用第三方提供的资金进行资产交易的方式。与常规交易账户相比,杠杆交易账户能够让交易者获得更多的资金,支持他们使用头寸。从本质上讲,杠杆交易对交易结果进行了放大,使交易者能够在盈利交易中获得更大的利润。这种扩大交易结果的能力使得杠杆交易在低波动性市场尤其是国际外汇市场中尤其受欢迎。杠杆交易也被用于股票、现货和加密货币市场。在传统市场中,杠杆交易中借入的资金通常由投资经纪人提供。然而,在加密货币交易中,该部分资金通常由其他交易者提供,他们根据市场供需对杠杆交易收取一定的利息。除此之外,还有一部分加密货币交易所也为其用户提供杠杆交易。币安杠杆交易借贷手续费:
- 我的微信
- 这是我的微信扫一扫
-
- 我的微信公众号
- 我的微信公众号扫一扫
-






2021年4月19日 下午3:33 沙发
不对整个区块链体系有任何干扰。区块链 +大数据解决方案就利用了大数据的整合能力,