- A+
雍和比特币 无论如何,2021年是币圈历史上最重要的一年。与2017年时刻短的私募热潮比较,本轮牛市的继续好像连续了牛年,究其原因,除了全球央行在大环境下的大放水外,影响最大的仍是因为减持。“defi”一词最早由加密假贷渠道达摩的创始人兼首席执行官布伦丹•福斯特(Brendan Forster)于2018年8月发明。经过两年多的开展,DEFI生态呈现了各式各样的项目。简直一切传统金融体系中的产品都经过区块链和智能合约技能在defi中从头诠释。Defi给钱银界带来了史无前例的财富效应,算法安稳币作为传统金融Defi范畴最具影响力的存在,受到了公众的重视。2021年头,跟着牛市的到来,以基差现金为代表的新算法安稳钱银迎来了一个峰值。但是,因为各自算法的缺陷,它们在市场上隐姓埋名。就在公众以为不安稳钱银“为公众消失”的时分,这种说法的呈现再次推翻了公众的认知。
钱银安稳范畴现有算法的缺陷依据相关安排数据,到2021年3月,全球defi的总价值高达4500亿美元。但是,考虑到以太坊的一次运营需求两到三位数的天然气本钱,很明显他们中的大多数都是“巨鲸”用户。除了以太坊昂扬的燃气本钱外,def最大的痛点在于其繁琐的机制和普通人难以置信但动摇的收入。第一代算法安稳钱银Amplforth相当于创始人。不能否定它有许多长处。并且,该算法最忠诚于中本宗的思维。经过该算法对钱银价格进行彻底引导,经过通货膨胀-通货紧缩模将钱银价格安稳在1美元左右。根本现金是第二代算法。它有三个硬币的形式,但它的缺陷是清楚明了的,例如,它不利于推广。三种钱银形式相当于区块链国际中的DPO。第一代算法安稳钱银amplforth更像pow。尽管社区用户表明pow存在各种问题,但与dpos比较,它在区块链中仍然是一种更强壮的算法,在算法安稳性上也是如此。尽管第二代根本法现金做了一些更新,但它并不像最早的算法安稳币安普富那样简略,也没有安普富的中心——只是经过算法,就不需求人工操作,这也是算法安稳币在到达峰值后消失的原因之一。
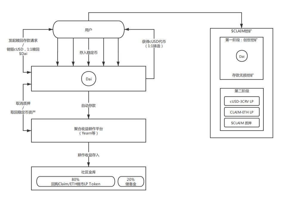
索赔准则剖析债务协议的经济形式是一种两层代币经济体系。为保证CSD的价值锚定和实现才能,团队前期仅支撑Dai、usdc、usdt、alusd和Dola作为质押财物。用户将上述5枚安稳硬币存入后,将按1:1的份额铸造cusd。之后,用户能够经过协议随时将持有的cusd按1:1的份额兑换成上述五种安稳钱银。
需求留意的是,$cusd是债务协议假造的有用安稳钱银,作为参加协议的质押用户的流转代币财物;其间$claim是协议的办理令牌,用于协议函数迭代、参数调整和Dao树财物办理的社区办理$claim令牌的总流转量为1亿。分配机制如下:道宝:8000万(总发行量的80%)生态基金:1000万(占总发行量的10%)团队资金:1000万(总发行量的10%)索赔将遵从Dao(涣散自治安排)的概念,并将彻底从社区操控的渠道开展而来。作为一个源于社区、立足于服务社区生态的defi项目,claim的协议办理将在最大程度上依赖于社区Dao办理形式。一切$claim token持有人都能够参加协议的办理,充沛表达自己的定见和要求。总结债务协议所发明的是新一代的信誉安稳钱银生态系统,它以跨时刻周期的财物价值为基础,以充沛的外部耦合和深度的流动性为特征。一同,索赔将不仅是一个安稳的硬币铸造厂和;更重要的是,它承诺树立一站式服务网络,能够承载用户的长时间信誉价值评价、信誉融资和财物保管。未来,用户或许只需点击屏幕上的“索赔”按钮,即可轻松快捷地进入多元化的defi国际。让我们一同等待这一天。网站:https://claim.xyz 推特:https://twitter.com/claimdotxyz介质:https://medium.com/@claimfinance 电报组:https://t.me/claimofficialcommunity
- 我的微信
- 这是我的微信扫一扫
-
- 我的微信公众号
- 我的微信公众号扫一扫
-






2021年6月3日 下午4:31 沙发
区块链通过结点连接的散状网络分层结构,能够在整个网络中实现信息的全面传递,并能够检验信息的准确程度。